CASE F30 吞咽困难,构音障碍,右上肢感觉减退。产后5天。






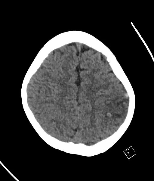
有一个明显的高密度皮质静脉(致密静脉征),代表上吻合静脉,临近皮层增厚伴低密度,没有致密动脉征象。




没有证据显示颈动脉或椎基底动脉系统内存在血栓。没有发现动脉瘤。
先前确认的左额顶区皮质静脉未见明显显示。硬膜静脉窦和脑内静脉的正常增强。








左侧额顶出现楔形异常灌注灶,脑血流量增加,平均通过时间增加,脑血容量增加。



























在左侧顶叶(中央后回)内有皮层扩散受限,与CT所显示的灌注异常相对应,并与急性梗死相一致。相关的T2/FLAIR信号在受影响的肿胀回内增加。左皮质浅静脉增粗,SWI低信号,为血栓形成。
印象
左顶叶皮质内急性梗死继发于Trolard静脉血栓形成。邻近急性蛛网膜下腔出血体积较小。
CASE M10 初次癫痫








左侧皮质浅静脉(Trolard)扩张和高密度,上矢状窦内有进一步的高密度病灶。
楔形低密度病灶可见于左上顶叶,伴有小病灶的实质出血。
左侧皮质浅静脉血栓形成,局部血栓延伸至上矢状窦,如下图,并伴有左上顶叶出血性静脉梗死。


















Trolard的左静脉在其行程中是不开放的。上矢状窦内存在2cm非闭塞性充盈缺损。
左前顶叶和后额叶呈卵圆形T2区和FLAIR高强度区。此区域表现为大面积的扩散限制,与SWI相关的易感性伪影与实质内出血相一致。
薄的,连续的皮质强化。
上吻合静脉(Trolard静脉)是最大的一对浅表静脉,引流至上矢状窦。
在这个病例中,未增强的CT很好地显示了高密度。
抗凝是治疗的主要手段。
附上大脑皮质的静脉血管区(插图)


纵隔大细胞神经内分泌癌1例CT影像
张力性纵隔气肿影像表现及严重度分级
迅速增大的肺部结节,首先考虑良性,确诊需要肺穿
肺隔离症:易误诊为肺癌的占位性病变,肺穿刺禁忌!
肺段与肺内管道应用解剖
肺转移瘤的十种不典型CT表现
肺内淋巴结的CT表现特点及与病理对照
肺实变与肺不张的CT鉴别诊断
医生现身说法,这五种忙帮不得!
北大教授:要真正让医务人员有阳光体面的收入!医
为值夜班的医生护士鼓与呼:请给我们更多关注!
广东拟取消医院用药数量限制,满足患者多样性需求
博士、硕士入职就给精装房!又有医院不惜下血本招
历时7年之久,温医生宣判无罪!
重磅!四川发文:严禁限制医生多点执业
与真人医生诊断一致性达96%:AI医生应用前景广阔